TMP100
Temperature Module
User’s Manual
Revision 1.2
Copyright © 2015 Maretron, LLP All Rights Reserved
Maretron, LLP
9014 N. 23rd Ave #10
Phoenix, AZ 85021-7850
http://www.maretron.com
Maretron Manual Part #: M002101
Revision History
|
Revision |
Description |
|
1.0 |
Original document |
|
1.1 |
Added prohibition of red Loctite threadlocking compound and cleaning agents containing acetone Typographical corrections |
|
1.2 |
Updated specification table – added 130316 PGN Formatting and typographical changes Added information on device label Added PGN documentation in appendix Added information on extending temperature probe cables |
Table of Contents
2.2 Choosing a Mounting Location
2.4.2 Temperature Probe Connections
2.4.2.1 Exhaust Gas Temperature (EGT) Probe
2.4.2.2 Thermistor Type Probes (Ring/Under Bolt, Ambient Air, or Immersion Probe)
2.5.3 Channel #0 - #5 Instance
2.5.6.1 NMEA 2000® PGN Enable/Disable
2.5.6.2 Restore Factory Defaults
2.5.6.3 Installation Description…
8 Maretron (2 Year) Limited Warranty
Table of Figures
Figure 1 – Mounting the TMP100
Figure 2 – NMEA 2000® Connector Face Views
Figure 3 – Exhaust Gas Temperature Probe Connection Diagram
Figure 4 – Ring/Under Bolt, Ambient Air, or Immersion Temperature Probe Connection Diagram
Figure 5 – Mounting Surface Template
Table of Appendices
Appendix A – NMEA 2000® Interfacing............................................................................................. A1
Congratulations on your purchase of the Maretron Temperature Module. Maretron has designed and built your TMP100 to the highest standards for years of dependable and accurate service.
Maretron's TMP100 measures the temperature for up to 6 temperature probes and reports the information over an NMEA 2000® network. The TMP100 supports up to 4 thermistor probes and 2 high temperature thermocouple probes. Optional thermistor probes (-20°C to 80°C or -4°F to 176°F) cover a wide range of applications including cabin air temperature, engine room air temperature, refrigerator/freezer temperature, under bolt temperature (inverters, charges, pumps, motors, etc.), tank temperatures (live well bait, hot water, etc.), and air duct temperatures. The optional thermocouple probes (0°C to 900°C or 32° to 1652°F) are used to measure Exhaust Gas Temperature (EGT) as part of a comprehensive fuel management system.
The Maretron TMP100 is designed to operate within the harsh demands of the marine environment. However, no piece of marine electronic equipment can function properly unless installed, configured, and maintained in the correct manner. Please read carefully and follow these instructions for installation, configuration, and usage of the Maretron TMP100 in order to ensure optimal performance.
This manual corresponds to TMP100 firmware revision 1.1.2.7.
The Maretron TMP100 has the following features.
- Cabin Temperature
- Engine Room Temperature
- Under Bolt Temperature (Inverters, Chargers, Pumps, etc.)
- Refrigerator/Freezer Temperature
- Tank Temperatures (Live Well Bait, Hot Water, etc.)
- Air Duct Temperature
- Exhaust Gas Temperature
- User Defined Temperature Types (#129-#144)
- Ambient Air Temperature Probe (-20°C to 80°C or -4°F to 176°F)
- Ring Terminal Probe (-20°C to 80°C or -4°F to 176°F)
- Immersion Probe for Tanks or Plenums (-20°C to 80°C or -4°F to 176°F)
- Exhaust Gas Temperature Probe (0°C to 900°C or 32° to 1652°F)
Maretron offers the following Accessories for the TMP100:
Installing the Maretron TMP100 involves the following five steps. Please refer to the individual sections for additional details.
1. Unpack the box (Section 2.1)
2. Choose a mounting location (Section 2.2)
3. Mount the TMP100 (Section 2.3)
4. Connect the TMP100 (Section 2.4)
5. Configure the TMP100 (Section 2.5)
When unpacking the box containing the Maretron TMP100, you should find the following items:
1 – TMP100 – Temperature Module
1 – Parts Bag containing 4 Stainless Steel Mounting Screws
1 – TMP100 User’s Manual
1 – Warranty Registration Card
If any of these items are missing or damaged, please contact Maretron.
Please consider the following when choosing a mounting location.
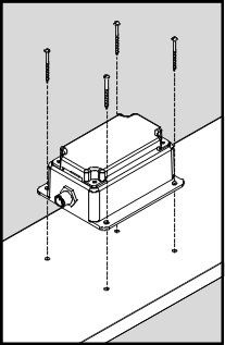
Attach the TMP100 securely to the vessel using the included stainless steel mounting screws or other fasteners as shown in Figure 1 below. Do not use threadlocking compounds containing methacrylate ester, such as Loctite Red (271), as they will cause stress cracking of the plastic enclosure.

Figure 1 – Mounting the TMP100
The TMP100 requires two types of electrical connections: 1) the NMEA 2000® connection (refer to Section 2.4.1), and 2) the temperature probe connections, which are described in Section 2.4.2.
The NMEA 2000® connector can be found on the side of the enclosure. The NMEA 2000® connector is a round five pin male connector (see Figure 2). You connect the TMP100 to an NMEA 2000® network using a Maretron NMEA 2000® cable (or compatible cable) by connecting the female end of the cable to the TMP100 (note the key on the male connector and keyway on the female connector). Be sure the cable is connected securely and that the collar on the cable connector is tightened firmly. Connect the other end of the cable (male) to the NMEA 2000® network in the same manner. The TMP100 is designed such that you can plug or unplug it from an NMEA 2000® network while the power to the network is connected or disconnected. Please follow recommended practices for installing NMEA 2000® network products.
Figure 2 – NMEA 2000® Connector Face Views
The TMP100 temperature probe connections are made by connecting to the 12-pin terminal strip on the top of the unit. First, remove the four screws at the corners of the unit detaching the splash guard from the unit. On the bottom of the splash guard, you will find a label detailing the wire connection to pin number assignments, which are repeated in the table below.
|
Pin # |
Signal Name |
Connection |
|
1 |
T0+ |
Exhaust Gas Temperature Probe 0 (positive terminal) |
|
2 |
T0- |
Exhaust Gas Temperature Probe 0 (negative terminal) |
|
3 |
T1+ |
Exhaust Gas Temperature Probe 1 (positive terminal) |
|
4 |
T1- |
Exhaust Gas Temperature Probe 1 (negative terminal) |
|
5 |
T2+ |
Temperature Probe 2 (positive terminal) |
|
6 |
T2- |
Temperature Probe 2 (negative terminal) |
|
7 |
T3+ |
Temperature Probe 3 (positive terminal) |
|
8 |
T3- |
Temperature Probe 3 (negative terminal) |
|
9 |
T4+ |
Temperature Probe 4 (positive terminal) |
|
10 |
T4- |
Temperature Probe 4 (negative terminal) |
|
11 |
T5+ |
Temperature Probe 5 (positive terminal) |
|
12 |
T5- |
Temperature Probe 5 (negative terminal) |
Before attempting to connect the TMP100 to the temperature probes, determine the type of system you will be monitoring. The TMP100 supports the connection and monitoring of two different system types; 1) Exhaust Gas Temperature probes (Section 2.4.2.1), or 2) thermistor type probes (ring/under bolt probes, immersion probes, and ambient air probes; please see Section 2.4.2.2).
The TP-EGT-1 exhaust gas temperature probe may be used to measure temperatures other than exhaust gas temperatures; however, the TP-EGT-1 exhaust gas temperature probe is the only TMP100 temperature probe that has sufficient range to measure exhaust gas temperature.
|
|
NOTE
You may connect TP-EGT-1 exhaust gas temperature probes only to the terminal pairs T0+/T0- (pins 1 and 2) or T1+/T1- (pins 3 and 4). |
Please refer to Figure 3 for connecting the TMP100 to a TP-EGT-1 exhaust gas temperature probe. Please be sure to connect the red wire from the EGT probe to the negative “-” terminal, and the yellow wire from the EGT probe to the positive “+” terminal. This figure shows the connection of the exhaust gas temperature probe temperature to channel 0 via the terminals named T0+ and T0-. Connection to channel 1 is similar.

Figure 3 – Exhaust Gas Temperature Probe Connection Diagram
If the cable on the EGT probe is not long enough to reach from the probe location back to the terminals on the TMP100, you may extend the cable using only K-Type thermocouple extension wire. Other types of extension wire will result in inaccurate temperature readings.
|
|
NOTE
You may connect TR3K ring/under bolt,TP-AAP-1 ambient air, and TP-IP-1 immersion probes only to the terminal pairs T2+/T2- (pins 5 and 6), T3+/T3- (pins 7 and 8), T4+/T4- (pins 9 and 10), or T5+/T5- (pins 11 and 12). |
Please refer to Figure 4 for connecting the TMP100 to a TR3K ring/under bolt thermistor temperature probe, TP-AAP-1 ambient air temperature probe, or TP-IP-1 immersion temperature probe. This figure shows the connection of the TP-IP-1 immersion probe to channel 2 via the terminals named T2+ and T2-, the TR3K ring/under bolt probe to channel 3 via the terminals named T3+ and T3-, and the TP-AAP-1 ambient air probe to channel 4 via the terminals named T4+ and T4-. Connection to channel 5 is similar.

Figure 4 – Ring/Under Bolt, Ambient Air, or Immersion Temperature Probe Connection Diagram
If the cable on the thermistor type probe is not long enough to reach from the probe location back to the terminals on the TMP100, you may extend the cable using ordinary two-conductor cable with 22AWG or larger conductors. However, extending the cable will add resistance to the circuit and can result in inaccurate temperature readings if this resistance is too high. For example, in the worst case, which is measurement of an 80°C temperature, an additional 13Ω of resistance will result in a -1°C temperature measurement error. To make your own calculation, please refer to the Maretron Knowledge Base for details on the thermistor type probe resistance versus temperature curves.
Once the NMEA 2000® connection and temperature probe connection(s) to the TMP100 have been completed, check to see that information is being properly transmitted by observing an appropriate NMEA 2000® display. If you don’t see temperature indications, refer to Section 4, “Troubleshooting”.
The TMP100 will transmit data over the NMEA 2000® network as it is shipped from the factory; however, it may require configuration, depending on the types of temperature measurements you are making. There are several configurable items within the TMP100, which are detailed in the remainder of this section.
|
|
NOTE
In order to configure the TMP100, you will need one of the following:
· A Maretron DSM150 or DSM250 display, or · Maretron’s N2KAnalyzer® software running on a Windows PC interfacing to the NMEA 2000 network through either: o a Maretron USB100 NMEA 2000/USB Gateway, or o a Maretron IPG100 Internet Protocol Gateway.
Please refer to the user’s manual for the configuration tool you are using for details on how to configure the TMP100 with that product.
|
You must configure the TMP100 as to what type of temperature measurement it is transmitting. Possible values for channels 0 and 1 include Sea Temperature, Outside Temperature, Inside Temperature, Engine Room Temperature, Main Cabin Temperature, Live Well Temperature, Bait Well Temperature, Refrigeration Temperature, Heating System Temperature, Freezer Temperature, Exhaust Gas Temperature, and User Defined Temperature #129-#144. You may also disable the channel by programming the “Disabled” value into this field.
You must configure the TMP100 as to what type of temperature measurement it is transmitting. Possible values for channels 2, 3, 4, and 5 include Sea Temperature, Outside Temperature, Inside Temperature, Engine Room Temperature, Main Cabin Temperature, Live Well Temperature, Bait Well Temperature, Refrigeration Temperature, Heating System Temperature, Freezer Temperature, and User Defined Temperature #129-#144 (please note that Exhaust Gas Temperature is not available on channels 2, 3, 4, and 5). You may also disable the channel by programming the “Disabled” value into this field.
Each temperature measurement with a given source must have a unique instance number associated with it. This enables monitoring software and displays to distinguish different temperature measurements from one another. For example, if a channel is programmed to transmit a source type of Exhaust Gas Temperature and the instance for that channel is set to a value of 0, then no other Exhaust Gas Temperature measurement on the network may use an instance number of 0.
Each channel that can be monitored by the TMP100 may be programmed with a text label that will be displayed in monitoring software and displays that recognize device labels, such as the Maretron N2KView Vessel Monitoring System and the Maretron DSM250 display. The label will let you assign an easy-to-remember text label (example: “Forward Bilge Pump”) to make it easy for you to identify the device as you are configuring the monitoring software or display, as well as when alerts are generated.
This entry allows you to assign a text label to the device. This label is visible in Maretron analysis and display products and allows you to easily identify the particular device.
Certain parameters do not normally need to be set in order for normal operation, but are included in an advanced configuration section for use in special situations.
The TMP100 is capable of transmitting NMEA 2000® messages (or PGNs) associated with monitored switch circuits. You may individually enable or disable each of these messages. You may also change the rate of transmission of each of these messages if desired.
Selecting this configuration option causes all stored parameters in the TMP100 to be reset to the values they contained when the unit was manufactured.
The TMP100, along with all other Level A certified NMEA 2000 devices, has two user-programmable installation description fields. You may program these fields with information specific to the device, such as date installed, the initials/name of the installer, the physical location of the device, etc. This configuration option will allow you to program the values of these fields.
Regular maintenance is important to ensure continued proper operation of the Maretron TMP100. Perform the following tasks periodically:
If you notice unexpected operation of the Maretron TMP100, follow the troubleshooting procedures in this section to remedy simple problems. If these steps do not solve your problem, please contact Maretron Technical Support (refer to Section 6 for contact information).
|
Symptom |
Troubleshooting Procedure |
|
No Temperature data visible on NMEA 2000® network. |
Ensure that the TMP100 is properly connected to the NMEA 2000® network.
Ensure that the temperature probes are properly connected to the TMP100.
Ensure that each indicator that you wish to monitor is not configured as “Disabled”.
Ensure that the TMP100 has the appropriate NMEA 2000® PGNs enabled as described in Section 2.5.6.1. |
|
Incorrect temperature data |
Ensure that the correct type of temperature probe is connected to the terminals which support that type of temperature probe as described in Section 2.4.2.
For exhaust gas temperature probes, ensure that the wires are connected to the TMP100 terminals according to the polarity specified in Section 2.4.2.1. |
As Maretron is constantly improving its products, all specifications are subject to change without notice. Maretron products are designed to be accurate and reliable; however, they should be used only as aids to navigation and not as a replacement for traditional navigation aids and techniques.
|
Parameter |
Value |
Comment |
|
Number of Thermistor Channels |
4 |
|
|
Number of Thermocouple Channels |
2 |
|
|
Measurement Range – Thermistor |
-20°C to 80°C (-4°F to 176°F) |
With supplied thermistor probe |
|
Measurement Accuracy – Thermistor |
± 2°C (± 3.6°F) |
With supplied thermistor probe |
|
Measurement Range – Thermocouple |
+0°C to 900°C (32°F to 1652°F) |
With supplied thermocouple probe |
|
Measurement Accuracy – Thermocouple |
± 2°C (± 3.6°F) |
With supplied thermocouple probe |
Certifications
|
Parameter |
Comment |
|
NMEA 2000® Standard |
Level A |
|
Maritime Navigation and Radiocommunication Equipment & Systems |
IEC 61162-3 |
|
Maritime Navigation and Radiocommunication Equipment & Systems |
IEC 60945 |
|
FCC and CE Mark |
Electromagnetic Compatibility |
NMEA 2000® Parameter Group Numbers (PGNs)
|
Description |
PGN # |
PGN Name |
Default Rate |
|
Periodic Data PGNs |
130310 |
Environmental Parameters (not recommended for new designs; included for backward compatibility) |
2 times/second |
|
130311 |
Environmental Parameters (not recommended for new designs; included for backward compatibility) |
2 times/second |
|
|
130312 |
Temperature
|
0.5 times/second |
|
|
130316 |
Temperature, Extended Range |
0.5 times/second |
|
|
130823 |
Temperature, High Range (Exhaust Gas Temperature) (Maretron Proprietary) |
0.5 times/second |
|
|
Response to Requested PGNs |
126464 |
PGN List (Transmit and Receive) |
N/A |
|
126996 |
Product Information |
N/A |
|
|
126998 |
Configuration Information |
N/A |
|
|
Protocol PGNs |
059392 |
ISO Acknowledge |
N/A |
|
059904 |
ISO Request |
N/A |
|
|
060928 |
ISO Address Claim |
N/A |
|
|
065240 |
ISO Address Command |
N/A |
|
|
126208 |
NMEA |
N/A |
|
|
Maretron Proprietary PGNs |
126720 |
Configuration |
N/A |
Electrical
|
Parameter |
Value |
Comment |
|
Operating Voltage |
9 to 32 Volts |
DC Voltage |
|
Power Consumption |
50 mA |
NMEA 2000® Interface |
|
Load Equivalence Number (LEN) |
1 |
NMEA 2000® Spec. (1LEN = 50 mA) |
|
Reverse Battery Protection |
Yes |
Indefinitely |
|
Load Dump Protection |
Yes |
Energy Rated per SAE J1113 |
Mechanical
|
Parameter |
Value |
Comment |
|
Size |
3.50” x 4.20” x 2.03” (88.9mm x 106.7mm x 51.6mm) |
Including Flanges for Mounting |
|
Weight |
13 oz. (368.5 g) |
|
Environmental
|
Parameter |
Value |
|
IEC 60945 Classification |
Exposed |
|
Degree of Protection |
IP64 |
|
Operating Temperature |
-25°C to 55°C |
|
Storage Temperature |
-40°C to 70°C |
|
Relative Humidity |
93%RH @40°C per IEC60945-8.2 |
|
Vibration |
2-13.2Hz @ ±1mm, 13.2-100Hz @ 7m/s2 per IEC 60945-8.7 |
|
Solar Radiation |
Ultraviolet B, A, Visible, and Infrared per IEC 60945-8.10 |
|
Corrosion (Salt Mist) |
4 times 7 days @ 40°C, 95%RH after 2 hour Salt Spray Per IEC 60945-8.12 |
|
Electromagnetic Emission |
Conducted and Radiated Emission per IEC 60945-9 |
|
Electromagnetic Immunity |
Conducted, Radiated, Supply, and ESD per IEC 60945-10 |
|
Safety Precautions |
Dangerous Voltage, Electromagnetic Radio Frequency per IEC 60945-12 |
If you require technical support for Maretron products, you can reach us in any of the following ways:
Fax: 1-602-861-1777
E-mail: [email protected]
World Wide Web: http://www.maretron.com
Mail: Maretron,
LLP
Attn:
Technical Support
9014 N.
23rd Ave Suite 10
Phoenix,
AZ 85021 USA
Please check the dimensions before using the following diagram as a template for drilling the mounting holes because the printing process may have distorted the dimensions.

Figure 5 – Mounting Surface Template
Maretron warrants the TMP100 to be free from defects in materials and workmanship for two (2) years from the date of original purchase. If within the applicable period any such products shall be proved to Maretron’s satisfaction to fail to meet the above limited warranty, such products shall be repaired or replaced at Maretron’s option. Purchaser's exclusive remedy and Maretron’s sole obligation hereunder, provided product is returned pursuant to the return requirements below, shall be limited to the repair or replacement, at Maretron’s option, of any product not meeting the above limited warranty and which is returned to Maretron; or if Maretron is unable to deliver a replacement that is free from defects in materials or workmanship, Purchaser’s payment for such product will be refunded. Maretron assumes no liability whatsoever for expenses of removing any defective product or part or for installing the repaired product or part or a replacement therefore or for any loss or damage to equipment in connection with which Maretron’s products or parts shall be used. With respect to products not manufactured by Maretron, Maretron’s warranty obligation shall in all respects conform to and be limited to the warranty actually extended to Maretron by its supplier. The foregoing warranties shall not apply with respect to products subjected to negligence, misuse, misapplication, accident, damages by circumstances beyond Maretron’s control, to improper installation, operation, maintenance, or storage, or to other than normal use or service.
THE FOREGOING WARRANTIES ARE EXPRESSLY IN LIEU OF AND EXCLUDES ALL OTHER EXPRESS OR IMPLIED WARRANTIES, INCLUDING BUT NOT LIMITED TO THE IMPLIED WARRANTIES OF MERCHANTABILITY AND OF FITNESS FOR A PARTICULAR PURPOSE.
Statements made by any person, including representatives of Maretron, which are inconsistent or in conflict with the terms of this Limited Warranty, shall not be binding upon Maretron unless reduced to writing and approved by an officer of Maretron.
IN NO CASE WILL MARETRON BE LIABLE FOR INCIDENTAL OR CONSEQUENTIAL DAMAGES, DAMAGES FOR LOSS OF USE, LOSS OF ANTICIPATED PROFITS OR SAVINGS, OR ANY OTHER LOSS INCURRED BECAUSE OF INTERRUPTION OF SERVICE. IN NO EVENT SHALL MARETRON’S AGGREGATE LIABILITY EXCEED THE PURCHASE PRICE OF THE PRODUCT(S) INVOLVED. MARETRON SHALL NOT BE SUBJECT TO ANY OTHER OBLIGATIONS OR LIABILITIES, WHETHER ARISING OUT OF BREACH OF CONTRACT OR WARRANTY, TORT (INCLUDING NEGLIGENCE), OR OTHER THEORIES OF LAW WITH RESPECT TO PRODUCTS SOLD OR SERVICES RENDERED BY MARETRON, OR ANY UNDERTAKINGS, ACTS OR OMISSIONS RELATING THERETO.
Maretron does not warrant that the functions contained in any software programs or products will meet purchaser’s requirements or that the operation of the software programs or products will be uninterrupted or error free. Purchaser assumes responsibility for the selection of the software programs or products to achieve the intended results, and for the installation, use and results obtained from said programs or products. No specifications, samples, descriptions, or illustrations provided Maretron to Purchaser, whether directly, in trade literature, brochures or other documentation shall be construed as warranties of any kind, and any failure to conform with such specifications, samples, descriptions, or illustrations shall not constitute any breach of Maretron’s limited warranty.
Warranty Return Procedure:
To apply for warranty claims, contact Maretron or one of its dealers to describe the problem and determine the appropriate course of action. If a return is necessary, place the product in its original packaging together with proof of purchase and send to an Authorized Maretron Service Location. You are responsible for all shipping and insurance charges. Maretron will return the replaced or repaired product with all shipping and handling prepaid except for requests requiring expedited shipping (i.e. overnight shipments). Failure to follow this warranty return procedure could result in the product’s warranty becoming null and void.
Maretron reserves the right to modify or replace, at its sole discretion, without prior notification, the warranty listed above. To obtain a copy of the then current warranty policy, please go to the following web page:
http://www.maretron.com/company/warranty.php
Appendix A – NMEA 2000® Interfacing
TMP100 NMEA 2000® Periodic Data Transmitted PGNs
PGN 130310 – Environmental Parameters (not recommended for new designs; included for backward compatibility)
The TMP100 uses this PGN to provide a regular transmission of water temperature and outside air temperature. The factory default for periodic transmission rate is twice per second. The transmission of this PGN can be disabled (see PGN 126208 – NMEA Request Group Function – Transmission Periodic Rate).
Field 1: SID – The sequence identifier field is used to tie related PGNs together. For example, the TMP100 will transmit identical SIDs for 130310 (Environmental Parameters) and 130312 (Temperature) to indicate that the readings are linked together (i.e., the data from each PGN was taken at the same time although they are reported at slightly different times).
2: Water Temperature – This field is used to indicate water temperature in units of 0.01°C.
3: Outside Ambient Air Temperature – This field is used to indicate the outside ambient air temperature in units of 0.01°C.
4: Atmospheric Pressure – This field is filled by the TMP100 with a value indicating “data not available”.
5: Reserved bits – The TMP100 sets all bits in this field to a value of “1”.
PGN 130311 – Environmental Parameters (not recommended for new designs; included for backward compatibility)
The TMP100 uses this PGN to provide a regular transmission of outside temperature, relative humidity, and atmospheric pressure. The factory default for periodic transmission rate is twice per second. The transmission of this PGN can be disabled (see PGN 126208 – NMEA Request Group Function – Transmission Periodic Rate).
Field 1: SID – The sequence identifier field is used to tie related PGNs together. For example, the TMP100 will transmit identical SIDs for 130311 (Environmental Parameters) and 130312 (Temperature) to indicate that the readings are linked together (i.e., the data from each PGN was taken at the same time although they are reported at slightly different times).
2: Temperature Instance – The TMP100 sets this field to indicate the type of temperature reading. The value of this field depends on the setting of the temperature source for each channel. This value can be any of Sea Temperature, Outside Temperature, Inside Temperature, Engine Room Temperature, or Main Cabin Temperature.
3: Humidity Instance – The TMP100 sets this field to a value indicating “data not available”.
4: Temperature – This field is used to indicate the temperature, whose source is specified in field 2, in units of 0.01°C.
5: Humidity – The TMP100 sets this field to a value indicating “data not available”.
6: Atmospheric Pressure – The TMP100 sets this field to a value indicating “data not available”.
PGN 130312 –Temperature (not recommended for new designs; included for backward compatibility)
The TMP100 uses this PGN to provide a regular transmission of various temperatures. The factory default for periodic transmission rate is once every two seconds. The transmission of this PGN can be disabled (see PGN 126208 – NMEA Request Group Function – Transmission Periodic Rate).
Field 1: SID – The sequence identifier field is used to tie related PGNs together. For example, the TMP100 will transmit identical SIDs for 130312 (Temperature) and 130311 (Environmental Parameters) to indicate that the readings are linked together (i.e., the data from each PGN was taken at the same time although they are reported at slightly different times).
2: Temperature Instance – The TMP100 sets this field to identify a particular temperature measurement from the source specified in Field 3. Every temperature measurement from a given source type on the network should have a distinct instance value, so that monitoring devices and displays can identify which measurement is which.
3: Temperature Source – This field is used to indicate the type of temperature measurement being taken. Possible values for this field include Sea Temperature, Outside Temperature, Inside Temperature, Engine Room Temperature, Main Cabin Temperature, Live Well Temperature, Bait Well Temperature, Refrigeration Temperature, Heating System Temperature, Dew Point Temperature, Apparent Wind Chill Temperature, Theoretical Wind Chill Temperature, Heat Index Temperature, Freezer Temperature, Exhaust Gas Temperature, and User Defined #129-#144.
4: Actual Temperature – This field is used to indicate the temperature, whose source is specified in field 2, in units of 0.01°C.
5: Set Temperature – The TMP100 sets this field to a value indicating “data not available”.
6: Reserved bits – The TMP100 sets all bits in this field to a value of “1”.
PGN 130316 –Temperature, Extended Range
The TMP100 uses this PGN to provide a regular transmission of various temperatures. The factory default for periodic transmission rate is once every two seconds. The transmission of this PGN can be disabled (see PGN 126208 – NMEA Request Group Function – Transmission Periodic Rate).
Field 1: SID – The sequence identifier field is used to tie related PGNs together (i.e., the data from each PGN was taken at the same time although they are reported at slightly different times).
2: Temperature Instance – The TMP100 sets this field to identify a particular temperature measurement from the source specified in Field 3. Every temperature measurement from a given source type on the network should have a distinct instance value, so that monitoring devices and displays can identify which measurement is which.
3: Temperature Source – This field is used to indicate the type of temperature measurement being taken. Possible values for this field include Sea Temperature, Outside Temperature, Inside Temperature, Engine Room Temperature, Main Cabin Temperature, Live Well Temperature, Bait Well Temperature, Refrigeration Temperature, Heating System Temperature, Dew Point Temperature, Apparent Wind Chill Temperature, Theoretical Wind Chill Temperature, Heat Index Temperature, Freezer Temperature, Exhaust Gas Temperature, and User Defined #129-#144.
4: Actual Temperature – This field is used to indicate the temperature, whose source is specified in fields 2 and 3, in units of 0.001°C.
5: Set Temperature – The TMP100 sets this field to a value indicating “data not available”.
PGN 130823 – Temperature, High Range (Maretron Proprietary)
The TMP100 uses this PGN to provide a regular transmission of temperature. The factory default for periodic transmission rate is once every two seconds. The transmission of this PGN can be disabled (see PGN 126208 – NMEA Request Group Function – Transmission Periodic Rate).
Field 1: Manufacturer Code – This field contains Maretron’s NMEA 2000® manufacturer code, which is 137.
2: Reserved – The TMP100 sets all bits in this field to a value of “1”.
3: Industry Group – This field contains the Marine industry group code, which is 4.
4: SID – The sequence identifier field is used to tie related PGNs together (i.e., the data from each PGN was taken at the same time although they are reported at slightly different times).
5: Temperature Instance – The TMP100 sets this field to identify a particular temperature measurement from the source specified in Field 6. Every temperature measurement from a given source type on the network should have a distinct instance value, so that monitoring devices and displays can identify which measurement is which.
6: Temperature Source – This field is used to indicate the type of temperature measurement being taken. Possible values for this field include Sea Temperature, Outside Temperature, Inside Temperature, Engine Room Temperature, Main Cabin Temperature, Live Well Temperature, Bait Well Temperature, Refrigeration Temperature, Heating System Temperature, Dew Point Temperature, Apparent Wind Chill Temperature, Theoretical Wind Chill Temperature, Heat Index Temperature, Freezer Temperature, Exhaust Gas Temperature, and User Defined #129-#144.
7: Actual Temperature – This field is used to indicate the temperature, whose source is specified in fields 5 and 6, in units of 0.1°C.
8: Set Temperature – The TMP100 sets this field to a value indicating “data not available”.