NBE100
Network Bus Extender
User’s Manual
Revision 1.0
Copyright ©2015 Maretron, LLP All Rights Reserved
Maretron, LLP
9014 N. 23rd Ave #10
Phoenix, AZ 85021-7850
http://www.maretron.com
Maretron Manual Part #: M003006
Revision History
|
Revision |
Description |
|
1.0 |
Original document |
Table of Contents
2.2 Choosing a Mounting Location
2.5.3.1 Restore Factory Defaults
8 Maretron (2 Year) Limited Warranty
Table of Figures
Figure 1 – Mounting the NBE100
Figure 2 – NMEA 2000® Connector Face Views
Figure 3 – NBE100 Connection Diagram
Figure 4 – Mounting Surface Template
Congratulations on your purchase of the Maretron Network Bus Extender. Maretron has designed and built your NBE100 to the highest standards for years of dependable and accurate service.
Maretron's NBE100 (Network Bus Extender) allows you to extend the maximum node count, network trunk length and cumulative drop length of any NMEA 2000® network. The NBE100 solves bus errors and other electrical issues caused by exceeding any of these limitations and makes design of large networks easier. NMEA 2000® networks have a maximum of 50 nodes allowed on a single network, a maximum network trunk length of 200m and a maximum cumulative drop length of 78m. If you have a network that exceeds any of these specifications, you can simply disconnect the network trunk in the middle and connect the ends to the NBE100, along with additional termination resistors. This will split the network into two electrical segments, each of which can have up to 50 nodes, for a total of 100 nodes on the logical network. The NBE100 will transparently route NMEA 2000® messages between the two network segments, making them work as a single logical NMEA 2000® network. Advanced priority-based message routing ensures that higher-priority messages are always prioritized over lower-priority messages, enabling predictable and reliable network operation.
For exceptionally large networks, multiple NBE100’s may be used.
This manual corresponds to NBE100 firmware revision 1.0.0.
The Maretron NBE100 has the following features.
Maretron offers the following accessories for the NBE100:
Installing the Maretron NBE100 involves the following five steps. Please refer to the individual sections for additional details.
1. Unpack the box (Section 2.1)
2. Choose a mounting location (Section 2.2)
3. Mount the NBE100 (Section 2.3)
4. Connect the NBE100 (Section 2.4)
When unpacking the box containing the Maretron NBE100, you should find the following items:
1 – NBE100 – Network Bus Extender
1 – Parts Bag containing 4 Stainless Steel Mounting Screws
1 – NBE100 User’s Manual
1 – Warranty Registration Card
If any of these items are missing or damaged, please contact Maretron.
Please consider the following when choosing a mounting location.
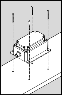
Attach the NBE100 securely to the vessel using the included stainless steel mounting screws or other fasteners as shown in Figure 1 below. Do not use threadlocking compounds containing methacrylate ester, such as Loctite Red (271), as they will cause stress cracking of the plastic enclosure.

Figure 1 – Mounting the NBE100
The NBE100 requires one type of electrical connection: the NMEA 2000® connections (refer to Section 2.4.1).
The NBE100 has two NMEA 2000® connectors. The NMEA 2000® connectors can be found on either end of the enclosure.
The NMEA 2000® connectors are round five pin male connector (see Figure 2). You connect the NBE100 to an NMEA 2000® network using a Maretron NMEA 2000® cable (or compatible cable) by connecting the female end of the cable to the NBE100 (note the key on the male connector and keyway on the female connector). Be sure the cable is connected securely and that the collar on the cable connector is tightened firmly. Connect the other end of the cable (male) to the NMEA 2000® network in the same manner. The NBE100 is designed such that you can plug or unplug it from an NMEA 2000® network while the power to the network is connected or disconnected. Please follow recommended practices for installing NMEA 2000® network products.
Figure 2 – NMEA 2000® Connector Face Views
The NBE100 is installed on an NMEA 2000® network between the two sections that you wish to physically isolate. There is no electrical connection through the NBE100, so you must ensure that each of the two NMEA 2000® networks connected to the NBE100 must have separate power sources and two termination resistors. This means that if you use an NBE100 to split an existing network into two separate networks, you must provide one additional power connection and two additional termination resistors (one for each side of the NBE100).
The two NMEA 2000® connectors are labeled “N2K PORT A(PWR)” and “N2K PORT B”. Logically, these connectors are identical; that is, you can connect the NBE100 between two networks in either way and it will function identically. However, the NBE100 sources power only from the connector marked “N2K PORT A(PWR)”. It uses no power from the connector labeled “N2K PORT B”.
Figure 3 below shows the installation of an NBE100 into a simple NMEA 2000® network.
For exceptionally large networks, multiple NBE100’s may be used to segment the network into more than two segments. Each segment must have its power connection and two termination resistors.
.

Figure 3 – NBE100 Connection Diagram
Once the NMEA 2000® connections to the NBE100 have been completed, check to see that information is being properly transmitted by using an appropriate NMEA 2000® display to observe a sensor on the opposite side of the NBE100. If you don’t see data from that sensor, refer to Section 4, “Troubleshooting”.
The NBE100 will function on the NMEA 2000 network as it is shipped from the factory; no user configuration is required. However, it may be desirable to perform optional configuration. There are several configurable items within the NBE100, which are detailed in the remainder of this section.
You configure the NBE100 using a Maretron DSM250 display or other NMEA 2000® display unit that is capable of configuring the NBE100. Please refer to the Maretron DSM250 User’s Manual for details.
NMEA 2000® provides a unique device instance for each device on a vessel. This value should be programmed in each NBE100 so that each NBE100 is associated with a unique device instance number. The default instance number is 0, which is used to indicate the first NBE100 that is hooked to the network. Subsequent NBE100’s connected to the network would be numbered 1, 2, and so on.
Program this parameter with a text string which identifies this particular NBE100, to allow you to easily distinguish it from other NBE100’s on the network.
Certain parameters do not normally need to be set in order for normal operation, but are included in an advanced configuration section for use in special situations.
Selecting this configuration option causes all stored parameters in the NBE100 to be reset to the values they contained when the unit was manufactured.
Regular maintenance is important to ensure continued proper operation of the Maretron NBE100. Perform the following tasks periodically:
If you notice unexpected operation of the Maretron NBE100, follow the troubleshooting procedures in this section to remedy simple problems. If these steps do not solve your problem, please contact Maretron Technical Support (refer to Section 6 for contact information).
|
Symptom |
Troubleshooting Procedure |
|
No devices on one side of the NBE100 are visible from a display connected to the other side. |
|
As Maretron is constantly improving its products, all specifications are subject to change without notice. Maretron products are designed to be accurate and reliable; however, they should be used only as aids to navigation and not as a replacement for traditional navigation aids and techniques.
Certifications
|
Parameter |
Comment |
|
NMEA 2000® Standard |
Level A+ |
|
Maritime Navigation and Radiocommunication Equipment & Systems |
IEC 61162-3 |
|
Maritime Navigation and Radiocommunication Equipment & Systems |
IEC 60945 |
|
FCC and CE Mark |
Electromagnetic Compatibility |
NMEA 2000® Parameter Group Numbers (PGNs)
|
Description |
PGN # |
PGN Name |
Default Rate |
|
Response to Requested PGNs |
126464 |
PGN List (Transmit and Receive) |
N/A |
|
126996 |
Product Information |
N/A |
|
|
126998 |
Configuration Information |
N/A |
|
|
Protocol PGNs |
059392 |
ISO Acknowledge |
N/A |
|
059904 |
ISO Request |
N/A |
|
|
060928 |
ISO Address Claim |
N/A |
|
|
065240 |
ISO Address Command |
N/A |
|
|
126208 |
NMEA Request/Command/Acknowledge |
N/A |
|
|
Maretron Proprietary PGN’s |
126720 |
Configuration |
N/A |
Electrical
|
Parameter |
Value |
Comment |
|
Operating Voltage |
9 to 16 Volts |
DC Voltage |
|
Power Consumption |
<150mA |
Average Current Drain |
|
Load Equivalence Number (LEN) |
3 |
NMEA 2000® Spec. (1LEN = 50 mA) |
|
Reverse Battery Protection |
Yes |
Indefinitely |
|
Load Dump Protection |
Yes |
Energy Rated per SAE J1113 |
Mechanical
|
Parameter |
Value |
Comment |
|
Size |
3.11” x 3.46” x 1.38” (79mm x 88mm x 35mm) |
Including Flanges for Mounting |
|
Weight |
8 oz. (227 g) |
|
Environmental
|
Parameter |
Value |
|
IEC 60945 Classification |
Exposed |
|
Degree of Protection |
IP67 |
|
Operating Temperature |
-25°C to 55°C |
|
Storage Temperature |
-40°C to 70°C |
|
Relative Humidity |
93%RH @40°C per IEC60945-8.2 |
|
Vibration |
2-13.2Hz @ ±1mm, 13.2-100Hz @ 7m/s2 per IEC 60945-8.7 |
|
Rain and Spray |
12.5mm Nozzle @ 100liters/min from 3m for 30min per IEC 60945-8.8 |
|
Solar Radiation |
Ultraviolet B, A, Visible, and Infrared per IEC 60945-8.10 |
|
Corrosion (Salt Mist) |
4 times 7 days @ 40°C, 95%RH after 2 hour Salt Spray Per IEC 60945-8.12 |
|
Electromagnetic Emission |
Conducted and Radiated Emission per IEC 60945-9 |
|
Electromagnetic Immunity |
Conducted, Radiated, Supply, and ESD per IEC 60945-10 |
|
Safety Precautions |
Dangerous Voltage, Electromagnetic Radio Frequency per IEC 60945-12 |
If you require technical support for Maretron products, you can reach us in any of the following ways:
Fax: 1-602-861-1777
E-mail: [email protected]
World Wide Web: http://www.maretron.com
Mail: Maretron,
LLP
Attn:
Technical Support
9014 N.
23rd Ave Suite 10
Phoenix,
AZ 85021 USA
Please check the dimensions before using the following diagram as a template for drilling the mounting holes because the printing process may have distorted the dimensions.

Figure 4 – Mounting Surface Template
Maretron warrants the NBE100 to be free from defects in materials and workmanship for two (2) years from the date of original purchase. If within the applicable period any such products shall be proved to Maretron’s satisfaction to fail to meet the above limited warranty, such products shall be repaired or replaced at Maretron’s option. Purchaser's exclusive remedy and Maretron’s sole obligation hereunder, provided product is returned pursuant to the return requirements below, shall be limited to the repair or replacement, at Maretron’s option, of any product not meeting the above limited warranty and which is returned to Maretron; or if Maretron is unable to deliver a replacement that is free from defects in materials or workmanship, Purchaser’s payment for such product will be refunded. Maretron assumes no liability whatsoever for expenses of removing any defective product or part or for installing the repaired product or part or a replacement therefore or for any loss or damage to equipment in connection with which Maretron’s products or parts shall be used. With respect to products not manufactured by Maretron, Maretron’s warranty obligation shall in all respects conform to and be limited to the warranty actually extended to Maretron by its supplier. The foregoing warranties shall not apply with respect to products subjected to negligence, misuse, misapplication, accident, damages by circumstances beyond Maretron’s control, to improper installation, operation, maintenance, or storage, or to other than normal use or service.
THE FOREGOING WARRANTIES ARE EXPRESSLY IN LIEU OF AND EXCLUDES ALL OTHER EXPRESS OR IMPLIED WARRANTIES, INCLUDING BUT NOT LIMITED TO THE IMPLIED WARRANTIES OF MERCHANTABILITY AND OF FITNESS FOR A PARTICULAR PURPOSE.
Statements made by any person, including representatives of Maretron, which are inconsistent or in conflict with the terms of this Limited Warranty, shall not be binding upon Maretron unless reduced to writing and approved by an officer of Maretron.
IN NO CASE WILL MARETRON BE LIABLE FOR INCIDENTAL OR CONSEQUENTIAL DAMAGES, DAMAGES FOR LOSS OF USE, LOSS OF ANTICIPATED PROFITS OR SAVINGS, OR ANY OTHER LOSS INCURRED BECAUSE OF INTERRUPTION OF SERVICE. IN NO EVENT SHALL MARETRON’S AGGREGATE LIABILITY EXCEED THE PURCHASE PRICE OF THE PRODUCT(S) INVOLVED. MARETRON SHALL NOT BE SUBJECT TO ANY OTHER OBLIGATIONS OR LIABILITIES, WHETHER ARISING OUT OF BREACH OF CONTRACT OR WARRANTY, TORT (INCLUDING NEGLIGENCE), OR OTHER THEORIES OF LAW WITH RESPECT TO PRODUCTS SOLD OR SERVICES RENDERED BY MARETRON, OR ANY UNDERTAKINGS, ACTS OR OMISSIONS RELATING THERETO.
Maretron does not warrant that the functions contained in any software programs or products will meet purchaser’s requirements or that the operation of the software programs or products will be uninterrupted or error free. Purchaser assumes responsibility for the selection of the software programs or products to achieve the intended results, and for the installation, use and results obtained from said programs or products. No specifications, samples, descriptions, or illustrations provided Maretron to Purchaser, whether directly, in trade literature, brochures or other documentation shall be construed as warranties of any kind, and any failure to conform with such specifications, samples, descriptions, or illustrations shall not constitute any breach of Maretron’s limited warranty.
Warranty Return Procedure:
To apply for warranty claims, contact Maretron or one of its dealers to describe the problem and determine the appropriate course of action. If a return is necessary, place the product in its original packaging together with proof of purchase and send to an Authorized Maretron Service Location. You are responsible for all shipping and insurance charges. Maretron will return the replaced or repaired product with all shipping and handling prepaid except for requests requiring expedited shipping (i.e. overnight shipments). Failure to follow this warranty return procedure could result in the product’s warranty becoming null and void.
Maretron reserves the right to modify or replace, at its sole discretion, without prior notification, the warranty listed above. To obtain a copy of the then current warranty policy, please go to the following web page: